Stavitelné podkládací stojánky Compac CAX
Standardní výškově stavitelné podkládací stojánky s nosností v rozsahu 2 t až 12 t.- výškově stavitelné podkládací stojánky vysoké kvality
- robustní, plně svařovaná ocelová konstrukce
- u modelů CAX 12S a CAX 12HS je robustní vyšroubovatelné vřeteno
- kvalitní, antikorozní a mechanicky odolná prášková povrchová úprava
- velmi dlouhá životnost, provozní spolehlivost a minimální nároky na údržbu
- vysoká kvalita zaručená renomovaným dánským výrobcem
- na celou řadu špičkových dánských zvedáků Compac se poskytuje záruka 3 roky!
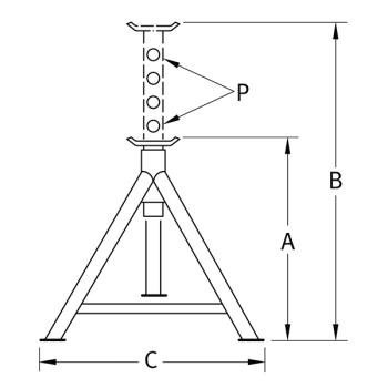
Technické parametry
| CAX 2H | CAX 3 | CAX 5 | CAX 8 | CAX 8H | CAX 12S | CAX 12HS | |
|---|---|---|---|---|---|---|---|
| Nosnost (t) | 2 | 3 | 5 | 8 | 8 | 12 | 12 |
| Počet pozic (P) | 5 | 5 | 5 | 5 | 6 | Závit | Závit |
| Min. výška (A) mm | 505 | 346 | 406 | 424 | 605 | 345 | 505 |
| Max. výška (B) mm | 755 | 510 | 567 | 633 | 870 | 495 | 740 |
| Podstavec (mm) | 491 × 491 | 325 × 325 | 355 × 355 | 403 × 403 | 575 × 575 | 230 × 230 | 395 × 395 |
| Hmotnost (kg) | 6,6 | 6,6 | 7,2 | 11,5 | 15,0 | 11,8 | 14,4 |
Objednávka zboží
0800000987008
987008
987008
COMPAC CAX 12S Stavitelný podkládací stojánek 12t
na objednávku
na objednávku
Kč 5.590,00
0800000987009
987009
987009
COMPAC CAX 12HS Stavitelný podkládací stojánek 12t
na objednávku
na objednávku
Kč 6.190,00








